Structure of piezoelectric accelerometer. | Dow...
Сохранение пьезометрического графика в Ms Word ...
Акселерометры
Piezoelectric Accelerometers: A Practical Guide...
Calibration of a Piezoelectric Accelerometer by...
Piezoelectric Accelerometer | Measurement of Ac...
Introduction to piezoelectric accelerometers - ...
2.1.2 Сетевой насос
3. Устройство пьезодатчиков
에이스 인스트루먼트
2 Piezoelectric Accelerometer, Laboratory, XYZ ...
History of The Piezoelectric Accelerometer | Br...
TE Connectivity 8101 (Piezoelectric Linear Acce...
8. Рекомендации по проектированию наблюдательны...
Electric Piezometer – PMEQ01 – payab zamzam
Ёмкостные и пьезорезистивные акселерометры. При...
Пьезометрический график
Pyezoelektri̇k Sensor | PDF
Силовая микроскопия пьезоотклика - НТ-МДТ
Piezoelectric Accelerometer Sensor, 50-5g/100-5...
Пьезоэлектрические акселерометры.
2.6. Пьезо- и пироэлектрический эффекты
Построение пьезометрического графика
Titreşen Telli Piyezometre (Vibrating Wire Piez...
Crystals | Free Full-Text | Research Status and...
Piezoelectric Accelerometer – IPA India
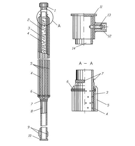
Иллюстрации к патенту 150714 - Пьезоакселеромет...
Как построить пьезометрический график для тепло...
Основной принцип работы акселерометров на пьезо...
Piyezometre « Echo Zemin
7.2.2. Пьезометр