Справочник
КР1006ВИ1 - купить Харьков Украина 3v3.com.ua
КР1006ВИ1А Микросхема | Цена, купить, описание,...
Микросхема КР1006ВИ1
Регулятор мощности на КР1006ВИ1
КР1006ВИ1 Datasheet (Даташит), Скачать PDF
Регулятор мощности с широтноимпульсным управле...
КР1006ВИ1 (08г., п/п 24г.), Программируемый тай...
chiptron.cz - Články: RK6006 - co od tohoto mal...
ALFA КР1006ВИ1 - KR1006VI1
Схема включения кр1006 - 94 фото
Обзор преобразователя RK6006, корпуса и блока п...
Рис. 61 Реле времени на интегральном таймере КР...
Tool Electric: Простой преобразователь напряжен...
Радиоконструктор 014 - Шесть устройств на микро...
Широтно-импульсный стабилизатор на КР1006ВИ1 — ...
Лабораторная работа №6 исследование интегрально...
Реле времени на КР1006ВИ1 (555) для точечной св...
Микросхема КР1021ХА4
Микросхема кр1006ви1 описание и схема включения
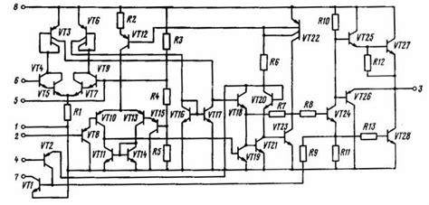
КР1006ВИ1, КФ1006ВИ1
Изображение
Контент Sergey-Ufa - Страница 72 - Форум по рад...
Микросхему КР1016ВИ1
Рис. 63 Схема реле времени с использованием тай...
Кр1086ха1 схема включения - фото