Пневматический пылесос для компрессора. Есть ли...
Пневмоцилиндр включения ком маз - 81 фото
Привод устройства сцепления автомобиля Камаз - ...
ПГУ МАЗ - разбираем и ремонтируем - Мазик Бай О...
Сцепление для грузовых автомобилей по выгодной ...
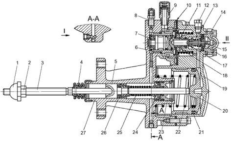
Пневматический усилитель привода выключения сце...
Компресор за гуми и доилен агрегат трифазен | К...
Подшипниковый узел | Смазка
Сцепление - Каталог продукции - Фирма АВТОКРАФТ...
Компрессор для пневмоштихеля системы Вальтмана ...
Усилители привода сцепления - YouTube
Принцип работы сцепления маз - 98 фото
Конструкция и принцип работы спирального компре...
Сцепление на бензопиле. - YouTube
ремонт ПГУ сцепления — МАЗ 555142, 9,9 л, 2007 ...
Пневмо шприцеватель для смазки — купить по низк...
Переделка с механики на пневмоусилитель сцеплен...
Установка двухдискового сцепления МАЗ 2 - YouTube
Пневмоусилитель привода сцепления
Гумички и маншони за спирачен цилиндър и спирач...
Комплект сцепления на Маз, замена сцепления (Ро...
Вилка сцепления МАЗ (КПП-Китай) ОАО МАЗ
Пневматик дуу намсгагчаар чимээгүй ажиллагааг д...
Как снять сцепление на бензопиле: Штиль, Хусква...
3.2. Полное включение сцепления:
СЦЕПЛЕНИЕ С ВАКУУМНЫМ УСИЛИТЕЛЕМ - YouTube
Привод сцепления - Сцепление легкового автомобиля
Сцепление автомобиля МАЗ